Pipeline Pigging Systems :- Overview

Pipeline pigging system refers to the cleaning and maintenance of pipelines using devices known as “pigs”. This may seem an odd term, but it is an acronym for “Pipeline Inspection Gauge/Gadget”. While the process may appear, on the surface, to be a simple one, the reality is that the pigging operation is very specialized and the pigs that are used must be made to the highest international standards to ensure that the cleaning is maximized; any internal damage is noticed during the pigging process and it is ensured that the pigs themselves do not damage the pipelines in any way.

CONMAT pig launcher or receivers are designed to introduce or retrieve the different sizes of pigs, spheres or inspection tools from a pipeline.Launchers and receivers are built to suit the specific requirements of a pipeline.

pipeline-pigging

To complement our range of pigs and spheres CONMAT has the in-house design & engineering, manufacturing and testing capacity to produce pig and sphere launching and receiving systems to meet specific requirements of clients.

Key Features

  • Pig launchers & receivers are equipped with quick opening closures as per ANSI codes
  • The standard receiver is provided with pig indicators
  • Bypass or Kick out line connection is provided along with all
  • These launcher & receivers are also equipped with the connection for pressure gauge, vent & drain outlets

Pipeline Pigging Systems: Specifications

  • Available in sizes 4” and larger
  • Designed & manufactured as per the line vessel design codes including :
    • NACE
    • ASME VIII
    • ASME B31.3, B31.4, B31.8
  • Design

Quality Control

  • 100% Weld Inspection
  • Test Certificates for all items
  • According to client specification
  • Radiography X-testing
  • Ultrasonic testing
  • Magnetic Particle Testing
  • Pressure / Hydrostatic testing
  • Physical Testing
pipeline-pigging-system-gujarat
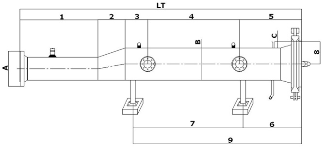
Diameters (Inches) Dimensions (Mm)
øA øB øC 1 2 3 4 5 6 7 8 9 LT
10 14 1 1/2 178 330 228 1000 584 360 1000 428 1812 2320
12 16 1 ½ 203 356 228 1300 584 360 1300 453 2112 2671
14 18 1 1/2 235 381 228 1450 584 360 1450 478 2262 2878
16 20 1 1/2 356 508 228 1727 584 360 1727 504 2539 3403
18 22 1 ½ 381 508 336 2092 638 360 2092 529 3066 3955
20 24 1 ½ 508 508 336 2670 638 360 2670 555 3644 4660
24 28 1 1/2 610 610 438 3430 689 360 3430 606 4557 5777
26 30 2 610 610 438 3850 689 360 3850 631 4977 6197
28 32 2 610 610 546 4110 734 360 4110 656 5390 6610
30 34 2 610 610 546 4300 734 360 4300 682 5580 6800
32 36 2 610 610 648 4300 794 360 4300 707 5742 6962
34 38 2 610 610 648 4300 794 360 4300 733 5742 6962
36 40 2 610 610 648 4300 794 360 4300 758 5742 6962
48 52 2 711 711 812 4300 878 360 4300 910 5990 7412
* Please consult factory for smaller sizes details.

Why Conmat Energy Stands Out for Pipeline Pigging Systems?

  • Advanced Technology: At Conmat Energy, we utilize state-of-the-art technologies to deliver precision-engineered pipeline pigging systems. Our tools and equipment are designed for seamless operation, ensuring maximum efficiency during cleaning, inspection, and maintenance tasks.
  • High-Quality: Performance Our pipeline pigging systems guarantee high performance and reliability. Whether it’s removing debris, preventing blockages, or conducting in-line inspections, our solutions deliver consistent results without compromising pipeline integrity.
  • Proven Track Record: Conmat Energy has a solid reputation for delivering reliable pipeline pigging systems across diverse industries, including oil and gas, water, and petrochemicals. Our client success stories speak to our commitment to excellence.